Many love to listen to music, and Spotify is one of their favorite apps, the one-stop-solution for all your audio streaming. Spotify brings everything in one place for music lovers. Moreover, the overall customization and control you have over Spotify makes you access it more. Thanks to rich features that make your whole experience of audio streaming out of the world.

Spotify introduces constant updates, new changes, & new additions every day to keep you feeling excited & related to the app. Recently, Spotify came up with another superb update that shocked all the users of the audio streaming platform. We all have heard about those music categories where you will find songs for every mood (from calm to rock and sad to happiness).

However, have you ever heard about a platform that’s suggesting songs based on your emotions? Yeah!! Exactly. It took me by surprise that there is an app that can suggest music tracks according to my emotions & that’s none other than Spotify. I don’t think I can ask for more from an audio streaming & media services platform.
Also Read: How To Organize Spotify Library
Spotify Will Suggest Songs Based on Your Emotions
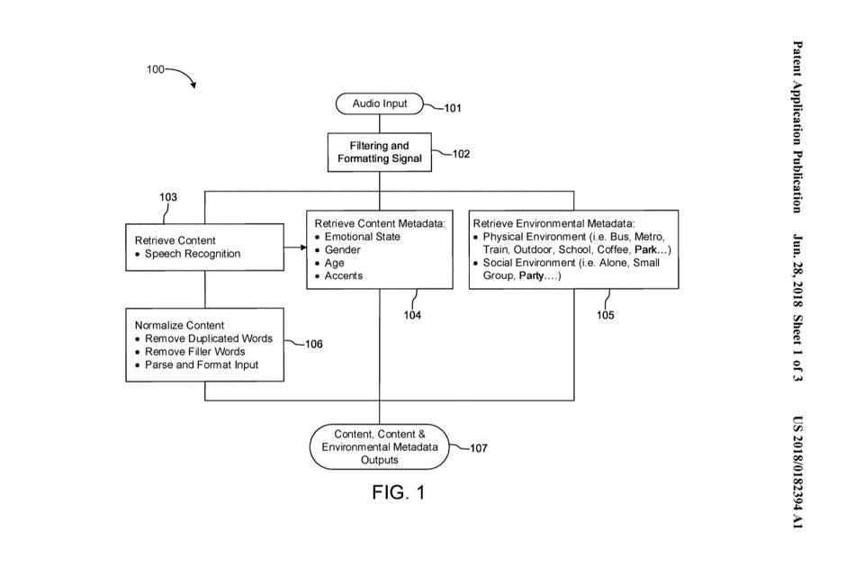
Sometimes, efforts take too much time to get converted into an output but for all that it took, it’s worth it in the end. Spotify went through the same situation when it filed for the Patent in 2018, however, the dream became reality in January 2021. Yeah!! The Speech recognition technology has been granted to Spotify in mid-January to provide better services to users.
Using this service, Spotify will be able to make observations about all the user’s emotions and suggest appropriate music tracks. Also, apart from observing the emotions, the technology will narrow down many factors, including social settings & environment. Doing this, the tracks can be filtered and Spotify will start suggesting you just the music you were expecting. Wouldn’t this be exciting?
Spotify has successfully patented the technology which allows the platform to analyze a user’s voice to suggest songs based on his/her “emotional state, gender, age, or accent“. So if you think that you aren’t able to decide songs according to what you are feeling, put that burden on Spotify now. Spotify will take care of all those things and break down the category of songs into a precise one to correlate with your mood.

How this would work is that there would be two technical aspects working together at the same time to provide better services. On one side, it will be the speech recognition technology that would get all the info about general details including gender and age. Wherein on the other side, the contextual cues will help you get info about the users’ mood if they are happy, sad, or angry. It’s quite evident that only this much info isn’t enough to narrow down the music for you (based on your emotions). However, the combination of the above-mentioned info along with your already-played-songs will give more insight to Spotify to serve users in a better way.
As per the filed & granted patent, “A more basic approach might simply categorize [a user’s] emotion into happy, angry, afraid, sad or neutra. Prosaic information (e.g. intonation, stress, rhythm, and the like of units of speech) can be combined and integrated with acoustic information within a hidden Markov model architecture, which allows one to make observations at a rate appropriate for the phenomena to be modeled.”
What Does Spotify Say About This Update?
Users from all over the world are going gaga over the fact that Spotify is updating the speech recognition technology on the platform. Where this will simplify the whole which-song-should-I-play-now dilemma, many users are concerned about privacy as well.
“It is common for a media streaming application to include features that provide personalized media recommendations to a user,” Spotify said in a statement.
“We recognize that one’s digital history is extraordinarily personal and sensitive”. “As such it must be treated with proper consideration of the conceivable misuses… from its access. We disavow any future research or applications that violate ethical standards of data usage and are not transparent about privacy to its users.”
Users will have to respond to a few questions including their gender, age, favorite bands &, etc that we normally do on any music streaming platforms. With the long-term planning, Spotify has got the patent that will allow it to look deeper & promote content to more than 320 million users globally. Also, according to past experiences and preferences, the company will be promoting music, advertisements, & podcasts.
Spotify: Music: Emotions: Suggestion
Spotify has created a patent for speech recognition technology that will allow it to offer you songs according to your emotions. Not only you, but all of us are also pretty excited to use this feature on our devices. Emotional recognition like anger, sadness, happiness, or neutral phase, everything will be captured by an audio streaming platform to serve you better. So I think the whole confusion of “which song should I play next” will be over finally as it will cover everything from loneliness to partying.
Having said that, many users have had their reservations about the security aspect as well. On this note, the company has made it quite clear that the user’s personal & sensitive info wouldn’t be misused for any other purposes.
So I think it’s a win-win situation for all of us who take a lot of time to choose the music track we want to play. Now everything will be decided by Spotify only unless we would want to listen to something particular.
Next Readings:
How To Remove A Song From Spotify Playlist On Desktop and Mobile
Connect Spotify To Hulu and Get Spotify In $4.99
How To use Spotify On Apple Watch?
Leave a Reply